Sony patenteert AI assistent die game verder speelt wanneer je vastzit
SP |
07 januari 2026
Sony heeft een patent ingediend voor een AI assistent die spelers helpt als ze vast komen te zitten in een PS5-game. In dit geval neemt de AI het gewoon over om voorbij het moeilijke stuk te geraken.
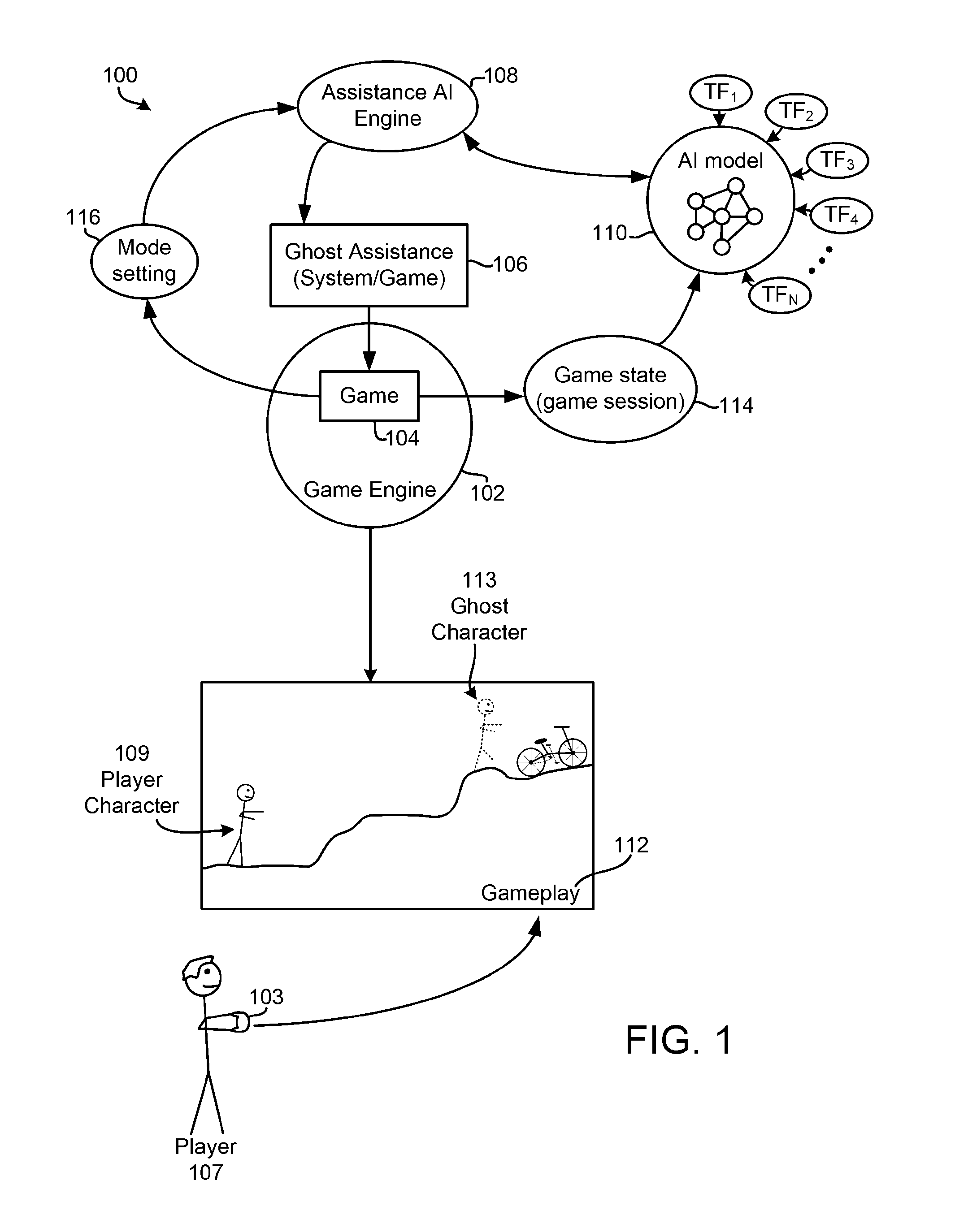
Hoewel Sony het patent een jaar geleden al registreerde, duikt het nu pas op (via VGC). Het beschrijft een AI personage die in-game bepaalde acties voortoont, zoals de oplossing van een puzzel of de invoer van specifieke knoppensequenties. Op die manier kan de speler gewoon het AI-personage volgen en zo makkelijk progressie maken.
Opvallend is dat de AI assistent eerst een conversatie met de speler aangaat om instructies te geven. Lukt het niet dan kan AI de controle tijdelijk overnemen om spelers op die manier voorbij een moeilijke sectie te loodsen. Of een baas te verslaan. De feature lijkt dus op een extreme evolutie van de huidige Game Help op PlayStation 5, die tips en tricks geeft via video’s en afbeeldingen aangeleverd door andere spelers.
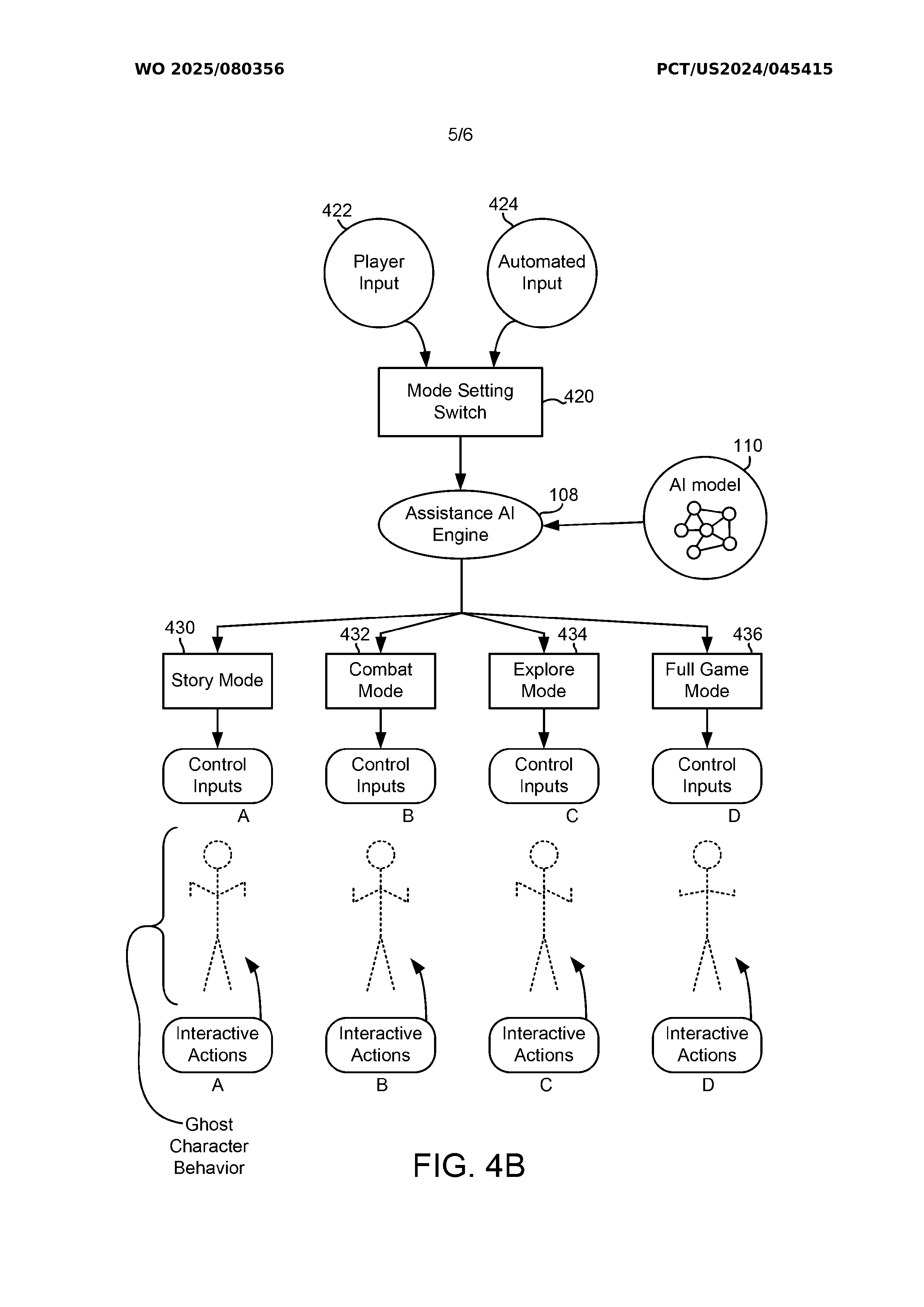
Verder zou de AI-Ghost ook verschillende modi hebben. Zo spreekt het patent van vier verschillende opties waaruit spelers kunnen kiezen. Dat zijn Story Mode, Combat Mode, Exploration Mode en Full Game Mode. Allicht bepalen die modi de graad van de hulp die je zou krijgen.
Natuurlijk is gamehulp niets nieuws. Talloze games integreren al verschillende moeilijkheidsgraden, maar ook allerlei hulpmiddelen, waaronder een hint-systeem, subtiele bewegingen van de camera. Maar AI de game laten spelen wanneer het iets te moeilijk wordt, dat is best verregaand.
Of de AI assistent ook werkelijk in de PS5 zijn opwachting maakt, valt nog af te wachten. Zou jij er gebruik van maken?
Meer Nieuws
Meer Nieuws
REVIEW
Nioh 3 is een timed exclusive voor PS5
SP
- 03 februari 2026
REVIEW
Anime life sim Starsand Island verschijnt deze zomer
SP
- 03 februari 2026
REVIEW
Resident Evil Requiem krijgt fantastische kortfilm trailer
SP
- 02 februari 2026