Gerucht: PlayStation 5 krijgt backwards compatibility
BA |
08 oktober 2018
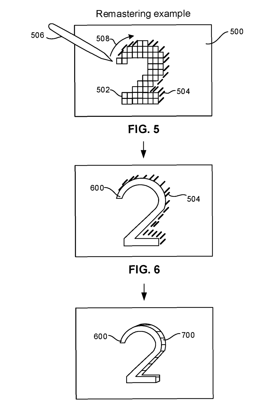
De geruchtenmolen rond de PlayStation 5 draait weer op volle toeren. Dit keer dankzij een patent dat Sony neerlegde. Het patent beschrijft een techniek die het mogelijk maakt om oude games op nieuwe consoles te emuleren. Krijgen we dan eindelijk backwards compatibility op Sony’s volgende console?
Kleine kanttekening: het patent dateert al van november 2016 en beschrijft in detail hoe texturen van oude games geremastered kunnen worden. Gelijkaardige documenten zijn aangetroffen voor het ‘remasteren’ van audio. Die kan je hier checken.
Betekent dit dat we daadwerkelijk PS4-games kunnen spelen op de PS5? Nee. Het bewijst dat Sony wel werkt (of heeft gewerkt) aan technieken om oude games te emuleren, maar verder is dit vooral wishfull thinking. Ook van ons.
Meer Nieuws
Meer Nieuws
REVIEW
Nioh 3 is een timed exclusive voor PS5
SP
- 03 februari 2026
REVIEW
Anime life sim Starsand Island verschijnt deze zomer
SP
- 03 februari 2026
REVIEW
Resident Evil Requiem krijgt fantastische kortfilm trailer
SP
- 02 februari 2026